

|
型号 |
公称压力 |
试验压力/MPa |
工作温度/℃ |
工作压力/MPa |
适用介质 |
|
|
壳体 |
密封 |
|||||
|
PH44H-10C |
1.0 |
1.5 |
1.1 |
≤200 |
10 |
灰渣 |
|
PH44H-16C |
1.6 |
2.4 |
1.76 |
16 |
||
|
PH44H-25 |
2.5 |
3.8 |
2.8 |
25 |
||
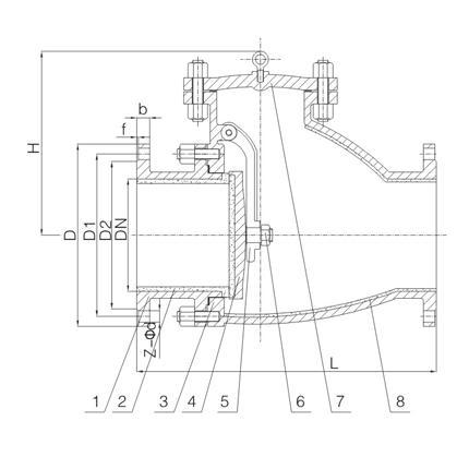
结构图:

零部件材料:
|
序号 |
名称 |
材料 |
|
1 |
阀体 |
WCB |
|
2 |
阀座 |
结构陶瓷 |
|
3 |
主体 |
WCB |
|
4 |
阀板 |
WCB+结构陶瓷 |
|
5 |
摇杆 |
WCB |
|
6 |
螺母 |
25 |
|
7 |
阀盖 |
WCB |
|
8 |
流道 |
结构陶瓷 |
连接尺寸:
|
DN |
PN(Mpa) |
L |
D |
D1 |
D2 |
C |
H |
Z-Φd |
|
100 |
1.0 |
292 |
220 |
180 |
156 |
22 |
270 |
8-Φ18 |
|
125 |
330 |
250 |
210 |
184 |
22 |
280 |
8-Φ18 |
|
|
150 |
356 |
285 |
240 |
211 |
24 |
290 |
8-Φ22 |
|
|
200 |
495 |
340 |
295 |
266 |
24 |
345 |
8-Φ22 |
|
|
250 |
622 |
395 |
350 |
319 |
26 |
412 |
12-Φ22 |
|
|
300 |
698 |
445 |
400 |
370 |
26 |
468 |
12-Φ22 |
|
|
350 |
787 |
505 |
460 |
429 |
26 |
524 |
16-Φ22 |
|
|
400 |
914 |
565 |
515 |
480 |
26 |
570 |
16-Φ26 |
|
|
100 |
1.6 |
292 |
220 |
180 |
156 |
22 |
270 |
8-Φ18 |
|
125 |
330 |
250 |
210 |
184 |
22 |
280 |
8-Φ18 |
|
|
150 |
356 |
285 |
240 |
211 |
24 |
290 |
8-Φ22 |
|
|
200 |
495 |
340 |
295 |
266 |
24 |
345 |
12-Φ22 |
|
|
250 |
622 |
405 |
355 |
319 |
26 |
412 |
12-Φ26 |
|
|
300 |
698 |
460 |
410 |
370 |
28 |
468 |
12-Φ26 |
|
|
350 |
787 |
520 |
470 |
429 |
30 |
524 |
16-Φ26 |
|
|
400 |
914 |
580 |
525 |
480 |
32 |
524 |
16-Φ30 |
咨询:PH44TC陶瓷止回阀